Экосервис - К: оборудование для  модернизации градирен
     Капельно-пленочный ороситель БОСТП (БСЭ ПНД)     Капельно-пленочный ороситель ОС ПНД
     Капельный ороситель ОП ПНД     Водоуловитель ВОЖ ПНД (Каплеотбойник)
     Биозагрузка БЗБ     Профиль для обшивки градирни ЭПЛ-200 (ПК-1)
     Водораспределительная система для градирен     Форсунки

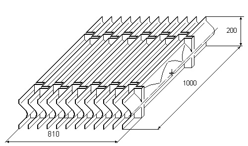
Водоуловитель ВОЖ ПНД (Каплеотбойник)


Большое влияние на качество воды в градирне оказывают не только оросители, но и водоуловители (каплеотбойники). Все известные конструкции водоуловителей работают по одному принципу - осаждение летящих вверх капель воды на препятствии за счет инерции при отклонении воздушного потока для огибания этого препятствия. Предлагаемый компанией ООО «ПКГ Индустрия» водоуловитель марки ВОЖ ПНД обладает пониженным, по сравнению с другими конструкциями, капельным уносом.


Водоуловитель ВОЖ ПНД представляет собой блок, состоящий из листов в форме полуволны, изготовленных из полиэтилена низкого давления. Водоуловитель (каплеотбойник) обладает повышенной эффективностью за счет наличия на поверхности волнообразного элемента водоотводящих канавок. Они способствуют ускоренному образованию струек воды и, следовательно, скорейшему удалению влаги в зону разбрызгивания. Применение водоуловителя позволяет снизить унос капельной влаги из градирни до 0,003-0,006% от плотности орошения (в зависимости от скорости воздуха перед водоуловителем).


Блоки водоуловителя обладают хорошими прочностными характеристиками, т.к. толщина стенки волнообразного профиля составляет 2 мм. Значительным преимуществом водоуловителя ВОЖ ПНД является его удобство во время монтажа. Процесс сборки элементов водоуловителя в блоки сводится к защелкиванию штырьков одного элемента во втулки другого. Для полной гарантии прочности сборки блока возможна установка дополнительного скрепляющего элемента – полимерной трубки, развальцованной по концам. А также водоуловитель поставляется в виде готовых к монтажу блоков - по желанию заказчика.


Характеристика:



  • Габаритные размеры блока, мм - 800 х 1000 х 200

  • Материал - полиэтилен низкого давления (ПНД)

  • Срок эксплуатации - не менее 15 лет


Преимущества:



  • Пониженный капельный унос

  • Простота монтажа элементов и блоков

  • Высокая прочность

 
Контакты:
Тел./факс +7 (999) 776-1111
e-mail: chichilanovvu@mail.ru
Продвижение сайта - I-market
на главную контакты карта сайта Экосервис - К: оборудование для  модернизации градирен